BLR-12(1)型電阻應變式拉壓力傳感器、變送器
- 產品分類:稱重測力傳感器
- 全國咨詢熱線:
- 13907318074
分享到:
概述
BLR-12型電阻應變式拉壓力傳感器,采用S型彈性元件結構,具有優良的自然性,其精度高,抗偏載側向能力強,對稱性好,可作拉壓兩用,廣泛用于料斗秤,皮帶秤、電子磅秤中,以及各系統中作力的分析和測量。
主要技術指標
非線性誤差 ≤±0.05℅F.S
滯后誤差 ≤±0.05℅F.S
重復性誤差 ≤±0.025℅F.S
輸出靈敏度 2~2.5mV/V
溫度零點影響 0.005℅F.S/℃
蠕變(30min) ±0.05℅F.S
輸出阻抗及橋壓 350Ω/10VDC
絕緣電阻 ≥2000ΜΩ
過載能力 120℅F.S
工作環境溫度 -10℃~+55℃
系列規格 10、20、30、50、100、150、200、250、300、500、700、1000(Kg)
0.1、0.2、0.3、0.5、1、1.5、2、2.5、3、5、7、10(KN)
變送器輸出 0~5VDC 0~10VDC 1~5VDC 0~10mA 0~20mA 4~20mA
BLR-12型電阻應變式拉壓力傳感器,采用S型彈性元件結構,具有優良的自然性,其精度高,抗偏載側向能力強,對稱性好,可作拉壓兩用,廣泛用于料斗秤,皮帶秤、電子磅秤中,以及各系統中作力的分析和測量。
主要技術指標
非線性誤差 ≤±0.05℅F.S
滯后誤差 ≤±0.05℅F.S
重復性誤差 ≤±0.025℅F.S
輸出靈敏度 2~2.5mV/V
溫度零點影響 0.005℅F.S/℃
蠕變(30min) ±0.05℅F.S
輸出阻抗及橋壓 350Ω/10VDC
絕緣電阻 ≥2000ΜΩ
過載能力 120℅F.S
工作環境溫度 -10℃~+55℃
系列規格 10、20、30、50、100、150、200、250、300、500、700、1000(Kg)
0.1、0.2、0.3、0.5、1、1.5、2、2.5、3、5、7、10(KN)
變送器輸出 0~5VDC 0~10VDC 1~5VDC 0~10mA 0~20mA 4~20mA
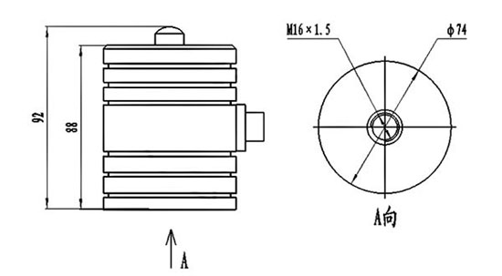
| 外形結構 | 外形尺寸(mm) | 連接螺紋 |
| 裝外殼型 | Φ74×92 | M16×1.5 |





